Durst - PILNE

Wszystko o aparatach, akcesoriach, sprzęcie ciemniowym.

Moderatorzy: rbit9n, Michał Kowalski, Jerzy, zladygin

Awatar użytkownika
Mirosław
-#
Posty: 490
Rejestracja: 09 paź 2011, 20:43
Lokalizacja: zachodniopomorskie
Kontakt:

Durst - PILNE

Post autor: Mirosław »

Witam.
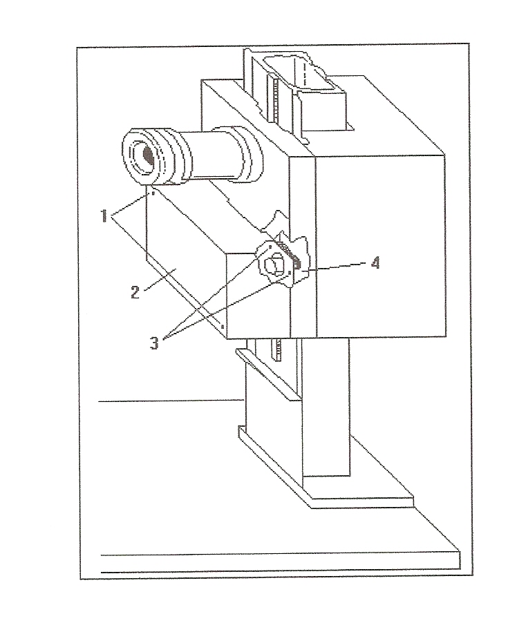
Muszę rozebrać Dursta Pictochrom - L1200 to sądze że jest podobnie - chciałem zdemontować fundament głowicy od kolumny,jak by ktoś miał z takim zagadnieniem do czynienia i miał coś konkretnego do podpowiedzenia na szybko to będe bardzo wdzięczny.Nie mam dużo czasu 2 dni bo wyjeżdzam a muszę go rozebrać, na rysunku pokazano ale już jest zdjęty (nie chodzi o odnośniki 1.2.3 tylko o ten widoczny knob na którym bazuje fundament głowicy),teraz siedzieć w necie i szukac nie mam za bardzo czas - dzięki bardzo
skanowanie0001.jpg
002.jpg
Uzależniony od fotociemni .
ODPOWIEDZ